Каталог товаров

Электропривод BELIMO

Электроприводы регулируют работу приспособлений открывания воздушных заслонок и клапанов в системах вентиляции.

Данные позиции выводятся из ассортимента. Наличие продукции уточняйте у менеджеров.
Описание товара
Характеристики моделей
Купить
Данные позиции выводятся из ассортимента. Наличие продукции уточняйте у менеджеров.

Приводы предназначены для управления воздушными клапанами и заслонками в системах вентиляции и кондиционирования.

Различают электроприводы без возвратной пружины и с возвратной пружиной. Электропривод с возвратной пружиной предназначен для управления воздушными заслонками и клапанами, выполняющими охранные функции (например, защита от замораживания). Электропривод перемещает заслонку в нормальное рабочее положение, одновременно растягивая пружину и держит ее в этом положении, используя минимум тока до момента предусмотренного или аварийного отключения питания. При отключении питания энергия, запасенная в пружине, автоматически возвращает заслонку в охранное положение.

Приводы устанавливаются непосредственно на вал заслонки с помощью крепежного хомута, снабжены фиксатором, предотвращающим его вращение, защищены от перегрузок, не требуют концевых выключателей, остановка происходит автоматически при достижении конечных положений.

Технические характеристики электроприводов без возвратной пружины


Тип

привода

Номинальное

напряжение, В

Крутящий

момент, Н·м***

Площадь

заслонки, м²***

Потребляемая мощность, при вращении/в состоянии покоя, Вт

Управление

LM230A

220

5

1

1,5/0,5

Открыто/закрыто или

трехпозиционное

LM230A-S**

220

1,5/0,5

LM24A

24

1/0,2

LM24A-SR

24

1/0,4

Плавная регулировка

сигналом 0…10 В=

NM230A

220

10

2

2,5/0,6

Открыто/закрыто или

трехпозиционное

NM230A-S**

220

2,5/0,6

NM24A

24

1,5/0,2

NM24A-SR

24

2,0/0,4

Плавная регулировка

сигналом 0…10 В=

SM230A

220

20

4

2,5/0,6

Открыто/закрыто или

трехпозиционное

SM230A-S**

220

2,5/0,6

SM24A

24

2,0/0,2

SM24A-SR

24

2,0/0,4

Плавная регулировка

сигналом 0…10 В=

GM230A

220

40

8

5,0/2,5

Открыто/закрыто

GM24A

24

4,0/2,0

GM24A-SR

24

4,5/2,0

Плавная регулировка

сигналом 0…10 В=


* Подбор электропривода осуществляется по крутящему моменту и площади поперечного сечения заслонки.
** Вспомогательный переключатель: 1 однополюсный, 1 мА…3(0,5) А, 250 В~(настраивается 0 ... 100%)
*** Площадь заслонки указана справочно. При выборе электропривода необходимо учитывать также величину необходимого крутящего момента.
Принцип действия (для моделей LM24A-SR, NM24A-SR, SM24A-SR, GM24A-SR). Электропривод управляется стандартным управляющим сигналом 0…10 В=. Он открывается до положения, продиктованного сигналом. Измеряемое напряжение U позволяет отображать действительное положение электропривода электрическим способом, а также управлять другими электроприводами.
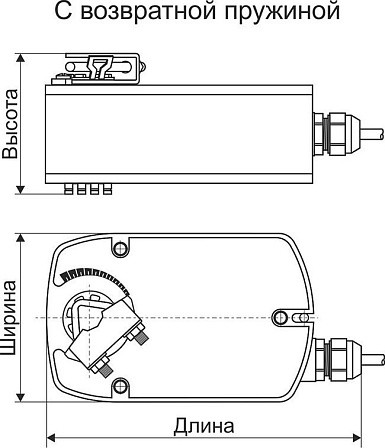
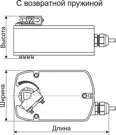
Установка. Простая установка непосредственно на вал заслонки при помощи универсального захвата, снабжается фиксатором, предотвращающим вращение корпуса электропривода.
Ручное управление. Возможно ручное управление при помощи кнопки с самовозвратом (при нажатой кнопке редуктор выводится из зацепления).
Надежность. Электропривод защищен от перегрузки, не требует конечных выключателей и останавливается автоматически при достижении конечных положений.

Технические характеристики электроприводов с возвратной пружиной


Тип привода

Номинальное

напряжение, В

Крутящий

момент,

Н·м

Площадь

заслонки,

м²

Потребляемая мощность, при вращении/в состоянии покоя, Вт

Управление

LF230

220

4

0,8

5,0/3,0

Открыто/закрыто

LF230-S**

220

5,0/3,0

LF24

24

5,0/2,5

LF24-SR

24

2,5/1,0

Плавная регулировка

сигналом 0…10 В=

NFA

24...240 В~ 50/60 Гц / 24...125 В=

10

2

6/2,5

Открыто/закрыто

NFA-S2***

6/2,5

NF24A

24

6/2,5

NF24A-SR

24

3,5/2,5

Плавная регулировка

сигналом 0…10 В=

SFA

24...240 В~ 50/60 Гц / 24...125 В=

20

4

7/3,5

Открыто/закрыто

SFA-S2***

7/3,5

SF24A

24

5/2,5

SF24A-SR

24

5/3

Плавная регулировка

сигналом 0…10 В=


* Подбор электропривода осуществляется по крутящему моменту и площади поперечного сечения заслонки.
** Вспомогательный переключатель: 1 однополюсный с двойным переключением 6 (1,5) А, 250 В~ (двойная изоляция), настраивается 0…100%.
*** Вспомогательный переключатель: 2 однополюсных с двойным переключением 1 мА… 3 (0.5)А 250 В~(1 фиксированный / 1 настраиваемый 11…90%).
** Площадь заслонки указана справочно. При выборе электропривода необходимо учитывать также величину необходимого крутящего момента.

Принцип действия. При перемещении привода в нормальное рабочее положение взводится возвратная пружина. При прекращении подачи питания энергия, запасенная в пружине, возвращает заслонку в охранное положение. Привод SFA снабжен универсальным блоком питания и может работать от 24…240 В~ 50/60 Гц / 24…125 В=.
Установка. Простая установка непосредственно на вал заслонки при помощи универсального захвата, снабжается фиксатором, предотвращающим вращение корпуса электропривода.
Надежность. Электропривод защищен от перегрузки, не требует конечных выключателей и останавливается автоматически при достижении конечных положений.
Ручное управление (для моделей NFA, NFA-S2, NF24A, NF24A-SR, SFA, SFA-S2, SF24A-SR). Ручное управление осуществляется при помощи ручного поворотного ключа. Привод можно заблокировать при помощи ключа в любой точке угла поворота. Блокировка снимается вручную или при подаче питания на привод.

Не представленные в наличии модели доступны к поставке под заказ

Оповестить о поступлении

Спасибо за обращение!
Наш менеджер свяжется с вами.

Всю необходимую информацию также можно получить по телефону «горячей линии»

+ 7 800 200 93 96

или по телефону

+7 800 505 08 67 получить консультацию